Produkty
Elektrický uzatvárací ventil
  • Elektrický uzatvárací ventilElektrický uzatvárací ventil

Elektrický uzatvárací ventil

JQF Valve factory nielen vyrába rôzne štandardné ventily, ale aj navrhuje a vyrába ventily podľa požiadaviek zákazníka. Náš vysokokvalitný elektrický posúvač je automatizované ventilové zariadenie, ktoré integruje elektrický pohon s telom posúvača spojeného zváraným koncom. Realizuje diaľkové ovládanie, rýchle otváranie a zatváranie a automatizované riadenie ventilov. Je obzvlášť vhodný pre vysokotlakové, vysokoteplotné, vysoko rizikové alebo ťažko prístupné pracovné podmienky a je kľúčovým zariadením pre moderné riadenie automatizácie priemyselných potrubí.
JQF Valve's high quality Electrical Gate Valve is widely used in petrochemical, thermal power plant, and other industries for connecting or shutting off medium pipelines, including those for petroleum products and steam. It is a high-quality, durable device.

Executive Standard

Špecifikácie dizajnu: GB / T 12234
Dĺžka konštrukcie: GB / T 12221
Spojovacia príruba: JB / T 79.1
Test a kontrola: JB / T 9092
Tlak - Teplota: GB / T 9131
Identifikácia produktu: GB / T 12220

Elektrické posúvače sú vhodné pre aplikácie, ktoré vyžadujú úplné otvorenie alebo úplné zatvorenie. Stručne povedané, používajú sa ako vypínače, zvyčajne sa inštalujú do potrubí ako izolačné ventily a nie sú vhodné na reguláciu prietoku. Keď je ventil úplne otvorený, priechod je úplne voľný, čo umožňuje médiu pretekať priamo bez straty tlaku. Preto sú ideálne pre systémy, ktoré uprednostňujú nízke tlakové straty a vyžadujú voľnú cestu prietoku.

Vlastnosti

1. Kompaktná konštrukcia, rozumný dizajn, dobrá tuhosť ventilu, hladká dráha prietoku a nízky koeficient prietoku.
2. Tesniace plochy sú vyrobené z nehrdzavejúcej ocele a tvrdých zliatinových materiálov, ktoré zaisťujú dlhú životnosť.
3. Elektrický posúvač používa flexibilné grafitové tesnenie, ktoré zaisťuje spoľahlivé utesnenie a jednoduchú a flexibilnú prevádzku.
4. Elektrický posúvač je možné poháňať ručne, pneumaticky, elektricky alebo pomocou prevodovky.
5. K dispozícii sú tri konštrukčné možnosti: flexibilná klinová jednoduchá brána, pevná klinová jednoduchá brána a dvojitá brána.

Výkonnostné parametre

Menovitý tlakPN(MPa) prípad skúšobný tlak (MPa) Zapečatené
Uzavreté (kvapalné) Tesnenie (plyn)
1.6 2.4 1.8 0.6 1.8
2.5 3.8 2.8 0.6 2.8
4.0 6.0 4.4 0.6 4.4
6.4 9.6 7.0 0.6 7.0
10.0 15.0 11.0 0.6 11.0
16.0 24.0 18.0 0.6 18.0

Vhodné médium a použiteľná teplota

Materiál škrupiny Vhodné médiá Použiteľná teplota (℃)
uhlíková oceľ (typ C) Voda, para, olej ≤425
Chrómniklová titánová oceľ (typ P) Kyseliny dusičné ≤ 200
Chrómniklová molybdénová titánová oceľ (typ R) Kyselina octová ≤ 200
Chróm-molybdénová oceľ (typ I) Voda, para, olej ≤550

Materiál hlavnej časti

Telo, kapota Ventilová doska, sedlo Driek ventilu Stonkový orech plnivo Ručné koleso
Uhlíková oceľ Kvalitná uhlíková oceľ + karbid alebo nehrdzavejúca oceľ Chrómová nehrdzavejúca oceľ Hliníkový bronz Grafitové azbestové balenie Kujné železo
Chróm nikel titánová oceľ Nehrdzavejúca oceľ, nehrdzavejúca oceľ + slinutý karbid Chróm nikel-titánová nehrdzavejúca oceľ Hliníkový bronz teflón Kujné železo
Chróm nikel molybdén titánová oceľ Nehrdzavejúca oceľ, nehrdzavejúca oceľ + slinutý karbid Chróm nikel-titánová nehrdzavejúca oceľ Hliníkový bronz teflón Kujné železo
Chróm-molybdénová oceľ Legovaná oceľ + karbid Chróm-molybdénová oceľ Hliníkový bronz Flexibilný azbest Kujné železo

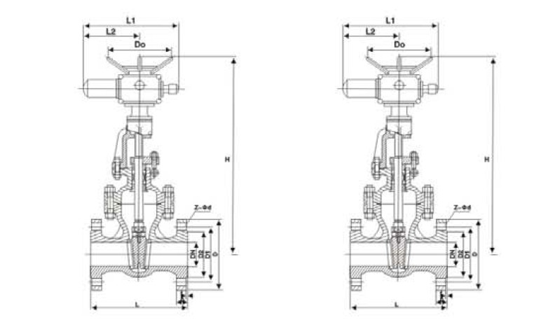
Hlavný tvar a rozmery pripojenia

Menovitý priemer Hlavné rozmery a rozmery pripojenia
L D D1 D2 b Z-d H D0
Z41H-16
15 130 95 65 45 14-2 4-Φ14 170 120
20 150 105 75 55 14-2 4-Φ14 190 140
25 160 115 85 65 14-2 4-Φ14 205 160
32 180 135 100 78 16-2 4-Φ18 270 180
40 200 145 110 85 16-3 4-Φ18 310 200
50 250 160 125 100 16-3 4-Φ18 358 240
65 265 180 145 120 18-3 4-Φ18 373 240
80 280 195 160 135 20-3 8-Φ18 435 280
100 300 215 180 155 20-3 8-Φ18 500 300
125 325 245 210 185 22-3 8-Φ18 614 320
150 350 280 240 210 24-3 8-Φ23 674 360
200 400 335 295 265 26-3 12-Φ23 811 400
250 450 405 355 320 30-3 12-Φ25 969 450
300 500 460 410 375 30-3 12-Φ25 1145 580
350 550 520 470 435 34-4 16-Φ25 1280 640
400 600 580 525 485 36-4 16-Φ30 1452 640
Z41H-25
15 130 95 65 45 16-2 4-Φ14 170 120
20 150 105 75 55 16-2 4-Φ14 190 140
25 160 115 85 65 16-2 4-Φ14 205 160
32 180 135 100 78 18-2 4-Φ18 270 180
40 200 145 110 85 18-3 4-Φ18 310 200
50 250 160 125 100 20-3 4-Φ18 358 240
65 265 180 145 120 22-3 8-Φ18 373 240
80 280 195 160 135 22-3 8-Φ18 435 280
100 300 230 190 160 24-3 8-Φ23 500 300
125 325 270 220 188 28-3 8-Φ25 614 320
150 350 300 250 218 30-3 8-Φ25 674 360
200 400 360 310 278 34-3 12-Φ25 811 400
250 450 425 370 332 36-3 12-Φ30 969 450
300 500 485 430 390 40-4 16-Φ30 1145 580
350 550 550 490 448 44-4 16-Φ34 1280 640
400 600 610 550 505 48-4 16-Φ34 1452 640

Obrázok štruktúry

Hot Tags: Elektrický uzatvárací ventil, Čína, prispôsobený, kvalitný, odolný, pokročilý, výrobca, dodávateľ, továreň, na sklade
Odoslať dopyt
Kontaktné informácie
  • Adresa

    č. 1, North 1st Road, Stainless Steel New Town, Lecong Steel World West Road, Shunde District, Foshan City, Guangdong Province, Čína

Ak máte otázky týkajúce sa posúvačov, guľových ventilov a spätných ventilov alebo cenníka, zanechajte nám svoj e-mail a my sa vám ozveme do 24 hodín.

X
Súbory cookie používame, aby sme vám poskytli lepší zážitok z prehliadania, analyzovali návštevnosť stránok a prispôsobili obsah. Používaním tejto stránky súhlasíte s naším používaním cookies. Zásady ochrany osobných údajov
Odmietnuť Prijať